幕墙第一线 | 江苏恒龙:创新可调幕墙安装结构在淮钢特钢研发办公中心项目的经典应用
作者:幕墙工程网 时间:2022-07-14 10:44:10
编者按
项目简介

幕墙整体采用竖向分隔的形式,以此体现雄浑刚健、磅礴大气的势态,结构采用新型单元装配式幕墙体现勇于创新,不断攀登的企业精神。
1.1 幕墙基础设计以及材料的应用
淮钢特钢研发办公中心在满足主体及幕墙的结构安全性能、使用性能及立面装饰性能等要求的前提下,选用合理、经济的材料配置,及科学、先进的系统构造,立柱采用80*60*4镀锌方管与60*60*4镀锌方管,横梁采用60*60*4镀锌方管,以及65系列断桥隔热铝合金窗的组合式第三代单元式铝板幕墙。面材选用3mm铝单板,提高幕墙的性价比,满足其经济合理性能的要求。铝板面板大面积采用286mm*1740mm标准板块,在降低铝板造价成本的同时兼顾采购速度,便于现场施工安装。
淮钢特钢研发办公中心外墙除去单元式幕墙外还有部分玻璃幕墙在设计时除去考虑结构的安全性能、使用性能及立面装饰性能等要求的前提外,同时选用合理、经济的材料配置,及科学、先进的系统构造,立柱采用140系列T5铝合金型材为主的明框玻璃幕墙。面材选用6Low-e+12A+6中空中透光均质钢化玻璃,满足其经济合理性能的要求。玻璃面板大面积采用1900mm*1100mm标准板块,在降低玻璃成本的同时兼顾采购速度,便于现场施工安装。玻璃幕墙分隔上充分考虑美观及层间防火的要求,原则上采用与单元体一致竖向分隔的形式,给人以高大,挺拔的感觉。同时在外立面设计时框架幕墙外外接钢结构造型,以此来展现钢的意志,铁的纪律,火的热情。让整个建筑独特的个性与企业风貌充分结合。
二、设计重难点分析
2.1 项目结构设计分析
淮钢特钢研发办公中心幕墙方案设计时结合建筑院的设计思路,充分考虑结构的安全与装配式方案的要求。选用相对经济实惠的热浸镀锌钢立柱组合式铝板门窗单元式幕墙,此种单元体连接方式,上下板块之间没有联系, 不会产生相应连接造成的不可确定性应力集中。受力简洁明确,在正常使用状态下能充分利用板材抗弯强度,当主体结构产生较大位移或温差较大时,不会在板材内部有附加应力,因而特别适用于高层建筑和抗震建筑幕墙,是真正意义上可拆装,可移动的单元式组合幕墙。且应上下板块之间独立安装,区别于传统上的框架式幕墙系统,是一种通风式的单元式幕墙,提高结构防水渗透及保温节能功效,同时降低建设成本,减少幕墙长期维护费用。
2.2 单元幕墙能够适应主体结构变形
导致土建主体结构变形的主要因素:土建的施工误差,沉降的不均匀,使用后的一直存在的微震,地震中的变形。
单元式幕墙是通过每个相邻板块之间的槽口插接而成,具有良好的伸缩变形能力。
单元式幕墙每个单元板块是一个整体,所以每个单元板块的各个构件的相对位移极其微小,在伸缩变形复位后仍然能保证板块的整体性。
框架式幕墙每个相邻板块之间是靠密封胶来达到视觉上的整体感,在伸缩变形的过程中,每个构件都会产生较大的相对位移,而且伸缩变形的复位能力差。如图(1)、图(2)
图1
图2
2.3 幕墙的防渗漏是本工程设计重点
本工程建筑立面大面采用单元式幕墙,如处理不当还可能会影响到幕墙的性能特别对幕墙的气密性、水密性、抗风压、抗震性能将产生一定的影响。防水渗漏设计和施工是工作重点和难点。
单元体幕墙排水设计
(1)、采用等压原理防水,并采用有组织逐层向外排水方式,排出少量渗漏水。
(2)、单元板块对插后形成两个空腔,第一道胶条起雨屏作用,可以阻挡大量雨水渗入等压腔内.第二、三道胶条起气密作用,层层减压消气,确保气密及等压室腔的形成。
(3)、渗入横向等压腔内少量雨水可以通过位于横梁两端1/4处的排水孔排出至幕墙外
图3
2.4 幕墙的现场吊装
利用全站仪、水平仪、经纬仪、卷尺复核总包公司提供的标高的正确性及预埋件位置的正确性。
安装前垫上隔离垫,安装时进行前后左右调节,完毕后进行固定,用水准仪检查标高,单元板吊出楼层后,进行180°旋转,让单元体铝板面向外,然后进行就位安装。图(6)
图4
图5
图6
单元板块的插接就位由单元板块吊装层及上一层人员共同完成。
单元板块下行至单元体挂点与转接高度之间相距200mm时,命令板块停止下行,并进行单元板块的左右方向插接。
在左右方向插接完成后,板块坐到下层单元板块的上槽口上,防止板块在风力作用下与楼体发生碰撞。
单元体板块安装工艺流程图
三、一种幕墙安装结构及施工工艺
3.1 发明内容以及背景
相关技术中,幕墙连接时,一般先在墙体内预埋螺杆,螺杆一般水平设置,然后将幕墙与螺杆连接,进而使得幕墙固定于上。发明人发现,通过上述螺杆固定幕墙时,螺杆受到来自幕墙的拉力,该拉力在螺杆的轴向上有较大的分力,而螺杆沿自身轴向的固定仅依靠螺杆螺纹与墙体的连接,螺杆在长时间的受力下,墙体的连接容易发生松动而导致螺杆脱离墙体。
为了改善螺杆容易在幕墙的拉力作用下脱离墙体的问题,在施工过程恒龙集团发明一种幕墙安装结构及施工工艺。
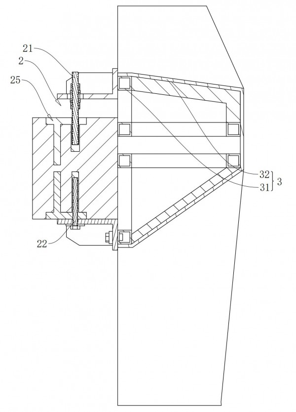
一种幕墙安装结构,包括幕墙本体和与墙体一体成型的安装梁,所述安装梁与幕墙本体之间通过安装装置连接,所述安装装置包括第一螺杆和第二螺杆,所述第一螺杆的一端自安装梁的顶壁插入安装梁内,另一端与幕墙本体连接,所述第二螺杆的一端自安装梁的底壁插入安装梁内,另一端与幕墙本体连接。
通过采用上述技术方案,第一螺杆安装于安装梁的顶壁,第二螺杆安装于安装梁的底壁,然后再将幕墙本体同时与第一螺杆和第二螺杆连接,增加幕墙本体连接的稳定性。第一螺杆与第二螺杆的同步固定,使得幕墙本体可作为一个单独的单元体与安装梁进行连接,无需与其他板块再次进行连接固定,减少了因不同板块连接而造成不确定性的应力集中的可能。
由于第一螺杆和第二螺杆均不是沿水平方向插入安装梁的,在幕墙本体对第一螺杆和第二螺杆施加拉力时,第一螺杆和第二螺杆与安装梁的接触面积均较大,且连接更为可靠,使得第一螺杆和第二螺杆不易与安装梁分离。
可选的,所述安装梁上设有预埋件,所述预埋件包括预埋板、 预埋杆和连接套筒,所述预埋杆和连接套筒均与预埋板连接,所述预埋杆和连接套筒均预埋于安装梁内,所述预埋板远离预埋杆的一端与安装梁的顶壁或底壁平齐,所述连接套筒与第一螺杆或第二螺杆螺纹连接。图(7、8)
图7
图8
1、安装梁;2、安装装置;21、第一螺杆;25、预埋件;幕墙本体;31、连接层;32、装饰层;22、第二螺杆
通过采用上述技术方案,在安装梁上设置预埋件,再让第一螺杆或第二螺杆与预埋件连接,预埋件包括预埋板、连接套筒和预埋杆,相比于第一螺杆或第二螺杆直接预埋于安装梁内,预埋件与安装梁的连接更为可靠,同时第一螺杆与第二螺杆再与预置套筒螺纹连接,便于第一螺杆和第二螺杆拆卸,进而便于幕墙本体的拆卸和移动,同时相比于将螺杆预埋于安装梁内,第一螺杆和第二螺杆便于更换。
图9
图10
第二螺杆;221、锁紧头;222、第二垫板;23、第一连接件;231、第一板;232、第二板;2321、第一调节槽;24、第二连接件;241、第三板;242、第四板;2421、第二调节槽;243、第三垫板;244、第三调节槽;245、固定螺栓;25、预埋件;251、预埋板;252、预埋杆;253、连接套筒;
通过采用上述技术方案,第一螺杆和第二螺杆竖直设置,此时连接套筒也需要竖直设置,便于第一螺杆和第二螺杆的安装,同时还可增加对幕墙本体支撑的稳定性。图(9、10)
可选的,所述幕墙本体包括装饰层和连接层,所述装饰层与连接层远离安装梁的一端连接,所述连接层与第一螺杆通过第一连接件连接,所述连接层与第二螺杆通过第二连接件连接。
通过采用上述技术方案,连接层通过第一连接件与第一螺杆连接,通过第二连接件与第二螺杆连接,提升支撑的稳定性,装饰层再安装于连接层上,便于维修或更换。
通过采用上述技术方案,采用热浸镀锌钢材,相比于铝材,钢材整体的强度较高,同时成本大大降低。
可选的,所述第一连接件包括相互连接的第一板和第二板,所述第一板与第二板垂直,所述第一板远离第二板的一端与连接层连接,所述第二板上沿装饰层与连接层的连线方向设有第一调节槽,所述第一调节槽被第一螺杆穿过,所述第一螺杆上螺纹连接有锁紧螺母,所述锁紧螺母沿第一螺杆的轴向相对设置于第二板的两侧,所述锁紧螺母与第二板抵接。
通过采用上述技术方案,连接层与第一板连接,第二板再与螺杆连接,同时第二板的上方和下方均设有锁紧螺母,可通过调节锁紧螺母的位置来控制第二板的高度,进而调节连接层相对于底面的垂直度。
可选的,所述第一螺杆上穿设有第一垫板,所述第一垫板位于锁紧螺母与第二板之间,所述第一垫板的一端与锁紧螺母抵接,另一端与第二板抵接。图(11)
图11
固定装置;41、底座;42、竖向移动板;421、水平调节柱;43、竖向驱动组件;431、调节螺杆;432、导向柱;4331、电机;4332、第一齿轮;4333、第二齿轮;44、水平移动板;441、第一锁紧螺栓;45、固定组件;
通过采用上述技术方案,连接层与第一板连接,第二板再与螺杆连接,同时第二板的上方和下方均设有锁紧螺母,可通过调节锁紧螺母的位置来控制第二板的高度,进而调节连接层相对于底面的垂直度。
可选的,所述第一螺杆上穿设有第一垫板,所述第一垫板位于锁紧螺母与第二板之间,所述第一垫板的一端与锁紧螺母抵接,另一端与第二板抵接。图(12)
图12
5、固定组件;451、固定板;452、滑移块;4521、拨动块;4522、锁紧板;4523、第二锁紧螺栓;453、第一稳定板;454、滑块;455、限位螺杆;456、稳定杆;4561、压缩弹簧;458、第二稳定板;4581、把手;4582、避让槽
通过采用上述技术方案,锁紧螺母先对第一垫板进行挤压,再通过第一垫板对第二板进行挤压,增加锁紧螺母对第二板固定的稳定性。
可选的,所述第二连接件包括相互连接的第三板和第四板,所述第三板与第四板垂直,所述第三板远离第四板的一端与连接层连接,所述第四板与安装梁的底壁抵接,所述第四板上沿装饰层与连接层的连线方向设有第二调节槽,所述第二调节槽被第二螺杆穿过,所述第二螺杆上穿设有第二垫板,所述第二垫板与第四板远离安装梁的一端抵接,所述第二螺杆上设有锁紧头,所述锁紧头与第二垫板远离第四板的一端抵接。
通过采用上述技术方案,第三板与连接层连接,第四板与安装梁的底壁抵接,再通过锁紧头锁紧,第四板与安装梁的底壁抵接,可使连接层与安装梁的连接更加稳定。
可选的,所述预埋板、预制杆和连接套筒的外壁均镀锌,所述第一螺杆和第二螺杆均采用10.9级高强螺栓。
通过采用上述技术方案,预埋板、预制杆和连接套筒的外壁镀锌可增加防腐蚀、耐锈等性能,第一螺杆和第二螺杆采用10.9级高强螺栓则可保证第一螺杆和第二螺杆的强度,进而提升对幕墙本体支撑的稳定性。图(13)
图13
451、固定板;4523、第二锁紧螺栓;454、滑块;4541、滑动块;4542、第三锁紧螺栓;455、限位螺杆;457、滑槽;444、锁紧槽;4571、滑动槽
淮钢特钢研发办公中心外墙幕墙工程存在一定的技术难点,针对不同角度和项目结构的特点。对传统幕墙进行了创新和新工艺的开发。恒龙集团申报的一种幕墙安装结构及施工工艺发明专利已经获得国家知识产权局授予。
淮钢特钢研发办公中心外墙幕墙工程存在一定的技术难点,针对不同角度和项目结构的特点。对传统幕墙进行了创新和新工艺的开发。恒龙集团申报的一种幕墙安装结构及施工工艺发明专利已经获得国家知识产权局授予。
恒龙集团深耕市场多年,具有丰富的设计及施工经验。恒龙集团有着专业的设计团队人员配备。能够专业及时的对接现场甲方与施工单位,做好施工困难与甲方要求之间的桥梁。并且在施工过程中不断提升技艺开发创创新以求为业主更好的服务。
施工单位简介
江苏恒龙装饰工程有限公司是一家专业从事建筑方案设计、幕墙结构设计、门窗结构设计、单元式幕墙、框架式幕墙、双层幕墙、光伏建筑一体化、点支式玻璃幕墙及各类高中档门窗等施工及维护为一体的具有综合实力的企业。
(责任编辑/唐 琦)
相关链接:
□ 幕墙第一线 | 沙漠星星酒店——日落金晖连天际 独醉大漠摘星辰
□ 幕墙第一线 | 国家大剧院台湖舞美艺术中心项目——碳达峰、碳中和案例解析
□ 幕墙第一线 | 龙跃中原、鹤舞九州,蜀道从“此”不再难 ——郑州航空港站幕墙工程详解
□ 幕墙第一线丨高质量精品幕墙助推羊城“中国纳米谷”蓄势待发
□ 幕墙第一线 | 天府国际会议中心——用世界最大胶合木单体塑造“天府之檐”(下)

公安机关备案号 110102000764